紅星沖擊破碎機屬渦流沖擊式破碎機,近年來在國內被迅速推廣。紅星破碎機主要是利用物料顆粒之間相互沖擊而破碎,所以產品的粒度主要取決于物料相撞時的動能,即轉子的周邊線速度,加入物料的粒度和物料本身的特性,特別是脆性的大小,越是硬脆的物料,破碎的效果越好。對某些脆性程度差一些的物料,或對產品粒度要求更細一些時,可在破碎腔內安裝反擊襯板,讓物料直接與反擊襯板想撞。該機具有重量輕、處理能力大、功耗低、鋼耗小、破碎比大、適應能力強、維修簡單等優點。把他安裝在球磨機粗碎工序前作預粉碎可較大幅度地提高球磨機的產量,較大幅度地降低球磨機的電耗。
電機通過三角皮帶驅動裝置和轉子高速旋轉。從進料裝置進入的物料,通過轉子上部的給料管進入轉子,被分配錐均勻地分布在轉子的各個通道中,物料在通道內被加速 ,在極短時間內達到使物料足以破碎的速度 ,高速拋出的物料與機體內的襯板碰撞,形成第一破碎 ,隨后第一次破碎的物料又受到繼續拋出的物料的碰撞,形成物料與物料之間的多次碰撞,從而達到破碎物料的目的。

沖擊式破碎機工作原理

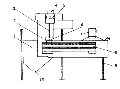
1機體 2水套 3主軸 4進料裝置 5轉子 6軸承 7電機 8 傳動裝置 9機架 10出料口
沖擊式破碎機結構
使用破碎機前的物料粒徑為77.1mm;使用后為19.4mm;。使用前的平均粒徑為27.4mm;使用后為4.0mm;平均粒徑下降85.4%,小于0.9mm的提高了394.4%。大于8mm的降低85.3%
使用紅星沖擊式破碎機后,球磨機以粉磨為主。球磨機的裝球和級配做了一些調整。鋼球有100mm減小到了80mm。降低了鋼球和球耗。磨機的臺時產量也大幅提高。磨機的臺時產量從使用前的平均11.9t/時提高到了現在的平均13.98t/h,提高了2.08t/h,提高了17.5%,水泥電耗由使用前的平均34.5kwh/t降低到30.8wh/t,下降了3.7kwh/t,下降10.7%,水泥質量也達歷史新水平。
上一篇: 水泥粉磨生產中離不開沖擊式破碎機
下一篇: 沖擊式破碎機安裝位置的確定及安裝注意事項
2018-11-01
2018-04-24